
粗磨和細磨雖然屬于不同粒度范圍的礦料磨碎,但由于磨碎的粒度不同,導致兩個階段的磨礦工藝特征有許多重大的差異,對球徑的選擇也就有許多不同的要求...
話題:粗磨、細磨2010-10-11

從破碎力學原理直接推導,并對某些條件作了一些假設和對磨礦條件作了一些必要的經驗修正后得到的。此公式是否正確和有實用價值,必須通過實踐檢驗。后...
話題:球徑半理論公式2010-10-11




由巖礦塊破碎所需要的破壞力來選擇鋼球尺寸在理論上是可行的,而且是科學的。下面詳細介紹如何根據巖礦抗破壞性能來選擇鋼球尺寸的方法,即具體推導鋼...
話題:球磨機2010-10-11

球徑公式是在大量試驗資料或生產資料的基礎上總結出來的數學模型。公式其可貴之處在于它來源于實踐而高于實踐,既有可靠性也有實用性。...
話題:球磨機2010-10-10


由于鋼球尺寸對磨礦的影響至關重要,因此,長期以來選礦和粉碎工作者均在研究如何精確地確定鋼球尺寸。因為影響鋼球尺寸的參變數太多,使這個問題很難...
話題:球磨機2010-10-10


工業生產中廣泛應用的磨機種類很多,分類方法亦不相同,有的按照研磨介質的形狀分類,有的根據筒體形狀分類,有的按排礦方式分類,也有根據磨礦生產方...
話題:球磨機2010-10-10


選礦生產中使礦漿作回轉運動的方法基本有兩種,一種是礦漿在壓力作用下沿切線給入圓形分選容器中,迫使其作回轉運動,這樣的回轉流厚度較大;另一種是...
話題:水力旋流器2010-10-10

螺旋分級機根據螺旋數目的不同,可分為單螺旋分級機和雙螺旋分級機。根據分級機溢流堰的高低,又可分為高堰式、低堰式、沉沒式三種。...
話題:螺旋分級機2010-10-10







由密度、粒度和形狀相同或相近的顆粒組成的粒群,它們在介質中沉降時,由相互摩擦、碰撞等原因產生的機械阻力,主要取決于粒群在介質中的容積濃度或松...
話題:顆粒在介質中的干涉沉降2010-10-09





縮短現有碎礦和磨礦流程,降低金屬消耗量,就必然成為技術革新的課題。自磨機和礫磨機的應用,便是目前解決這個問題很有發展前途的方向之一。...
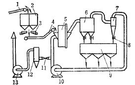
話題:礦石自磨與礫磨工藝2010-10-08



干式自磨系統由干式自磨機、風力運輸、風力分級,氣流凈化設備等組成。風路系統的作用是將磨機內磨碎到已達粒級要求的物料用風力排出,進行分級和收集...
話題:自磨系統2010-10-08

自磨回路中分級作業有三種形式。第一種是開路方式,自磨的產物不返回,直接進下段作業處理。第二種為閉路方式,自磨的產物經分級后,不合格產物全部返...
話題:干式自磨系統2010-10-08

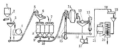
濕式自磨產物的特點是粒度大、粒級范圍寬,因而不可能利用單一的分級設備進行分級,多數情況下都采用聯合的多段分級方法。常用的分級設備有圓筒篩、振...
話題:干式自磨系統2010-10-08



自磨機的生產率和產品細度受著下列因素的影響:屬于原礦性質方面的因素有,原礦的粒度特性、礦塊的幾何形狀、水分的含量、礦石的物理機械性質、比重、...
話題:自磨工藝參數與生產率2010-10-08



鋼球對磨礦過程有一定的影響,鋼球落下沖擊礦石的能量,來自它落到終點時的動能。此動能的大小,決定于鋼球的落下高度。而磨機的轉速又決定著鋼球的落...
話題:鋼球落下時的動能2010-10-06



河南紅星礦山機器有限公司 總部地址:中國鄭州高新區紅松路梧桐街交叉口
工程師免費設計方案已有162位獲得心儀的方案
算一算 搭配一條合適的生產線需要多少錢?
點擊獲取報價